抗震支吊架是用于支承水管、风管、桥架等机电管线设备并提供抗震支撑的支吊架产品。依据GB 50981-2014《建筑机电工程抗震设计规范》,抗震支吊架的定义是:与建筑结构体牢固连接,以地震力为主要荷载的抗震支撑设施。由锚固体、加固吊杆、抗震连接构件及抗震斜撑组成。

在建筑机电工程中,抗震支吊架已开始强制使用,但是很多工程朋友对此还比较陌生,因为一直以来建筑在设计中基本不考虑机电的抗震,抗震支吊架也从没用过。但是现在情况不一样了,建筑机电行业在抗震领域有了国家标准,其中明确规定了抗震支架的设置和设计。依据2015年住房城乡建设部发布实施的国家标准GB 50981-2014《建筑机电工程抗震设计规范》,其中明确规定了抗震支吊架的设计与使用。该标准自2015年8月1日起实施,也意味着自此之后的建筑机电工程必须要考虑抗震支吊架了。抗震支吊架是用于支承水管、风管、桥架等机电管线设备并提供抗震支撑的支吊架产品。依据GB 50981-2014《建筑机电工程抗震设计规范》,抗震支吊架的定义是:与建筑结构体牢固连接,以地震力为主要荷载的抗震支撑设施。由锚固体、加固吊杆、抗震连接构件及抗震斜撑组成。依据GB 50981-2014《建筑机电工程抗震设计规范》,抗震支吊架是由锚固件、加固吊杆、抗震连接构件及抗震斜撑组成。组成抗震支吊架的所有构件应采用成品构件,连接紧固件的构造应便于安装。由两根及以上承重吊架和横梁、抗震斜撑组成的抗震支吊架。依据GB 50981-2014《建筑机电工程抗震设计规范》:第1.0.4条(强条)规定抗震设计烈度为6度及6度以上地区的建筑机电工程必须进行抗震设计。第3.1.6条条文说明规定了需进行抗震设防的内容:①悬吊管道中重力大于1.8kN的设备;②DN65以上的生活给水、消防管道系统;③矩形截面面积大于等于0.38㎡和圆形直径大于等于0.7m的风管系统;④对于内径大于等于60mm的电气配管及重力大于等于150N/m的电缆梯架、电缆槽盒、母线槽。第3.1.8条规定穿过隔震层的建筑机电工程程管道应采用柔性连接或其他方式,并应在隔震层两侧设置抗震支架。第4.1.2.1条规定8度、9度地区的高层建筑的给水、排水立管直线长度大于50m时,宜采取抗震动措施;直线长度大于100m时,应采取抗震动措施。第4.1.2.3条规定需要设防的室内给水、热水以及消防管道管径大于或等于DN65的水平管道,当其采用吊架、支架或托架固定时,应按要求设置抗震支承。第5.1.2.4条规定锅炉房、制冷机房、热交换站内的管道应有可靠的侧向和纵向抗震支撑。多根管道共用支吊架或管径大于等于300mm的单根管道支吊架,宜采用门型抗震支吊架。第5.1.3.3条规定矩形截面面积大于等于0.38㎡和圆形直径大于等于0.70m的风道可采用抗震支吊架。第5.1.4条(强条)规定防排烟风道、事故通风风道及相关设备应采用抗震支吊架。第5.1.5.4条规定重力大于1.8kN的空调机组、风机等设备不宜采用吊装安装。当必须采用吊装时,应避免设在人员活动和疏散通道位置的上方,但应设置抗震支吊架。第6.1.1条规定内径大于或等于25mm的燃气管道应进行抗震设计,管道抗震支吊架的设置应符合规定。第6.2.8条规定在建筑高度大于50m的建筑物内,燃气管道应根据建筑抗震要求,在适当的间隔设置抗震支撑。第7.1.2条规定内径不小于60mm的电气配管及重力不小于150N/m的电缆梯架、电缆槽盒、母线槽均应进行抗震设防。1、《建筑机电工程抗震设计规范》GB 50981-20142、《建筑抗震设计规范》GB 50011-20103、《建筑机电设备抗震支吊架通用技术条件》CJ/T476-20154、国家、省、市现行的其它建筑节能相关的法律、法规。2、矩形截面面积大于等于0.38平方和圆形直径大于等于0.70米的风道。1、防排烟风道、事故通风风道抗震支撑最大设计间距9米,纵向抗震支撑最大设计间距18米;2、管道两端设置侧向抗震支撑,抗震支撑间距超过最大设计间距时,应在中间增设抗震支撑。3、水平管线在转弯处0.6m范围内须设置侧向抗震支撑。4、门型抗震斜撑必须至少由一个侧向支撑或两个纵向支撑组成。
1、《建筑机电工程抗震设计规范》GB 50981-20142、《建筑抗震设计规范》GB 50011-20103、《建筑机电设备抗震支吊架通用技术条件》CJ/T476-20154、国家、省、市现行的其它建筑节能相关的法律、法规。2、8度、9度地区的高层建筑的给水、排水立管直线长度大于50米,直线长度大于100米管线。1、室内大于或等于DN65给水、排水、消防水抗震支撑最大设计间距12米,纵向抗震支撑最大设计间距24米;柔性桥架上述参数减半。2、管道两端设置侧向抗震支撑,抗震支撑间距超过最大设计间距时,应在中间增设抗震支撑。3、水平管线在转弯处0.6m范围内须设置侧向抗震支撑。4、门型抗震斜撑必须至少由一个侧向支撑或两个纵向支撑组成。
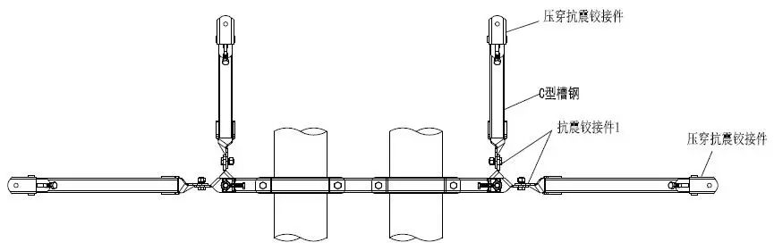
水管组合侧向与纵向支撑




1、《建筑机电工程抗震设计规范》GB 50981-20142、《建筑抗震设计规范》GB 50011-20103、《建筑机电设备抗震支吊架通用技术条件》CJ/T476-20154、国家、省、市现行的其它建筑节能相关的法律、法规。1、开关柜、配电及控制柜(屏)直流屏等电气设备采取防柜(屏)内电气松动、滑动、倾倒、震脱等抗震措施。2、柜(屏)间连接的硬母线、接地线等,在通过建筑物防震缝、沉降缝处,加设软连接。3、15kg及以上的电缆桥架和多管共桥架系统,内径大于等于60mm的电气配管。1、刚性电缆桥架抗震支撑最大设计间距12米,纵向抗震支撑最大设计间距24米;柔性桥架上述参数减半。2、桥架两端设置侧向抗震支撑,抗震支撑间距超过最大设计间距时,应在中间增设抗震支撑。3、水平管线在转弯处0.6m范围内须设置侧向抗震支撑。4、门型抗震斜撑必须至少由一个侧向支撑或两个纵向支撑组成。
