











1 抗震支吊架的形式
(1)抗震支吊架:与建筑结构件牢固连接,以地震力为主要荷载的抗震支撑设施,由锚固件、加固吊杆、抗震连接构件及抗震斜撑组成。示意图如图1:
  
1- 长螺杆;2- 设备或管道等;3- 螺杆紧固件;4- C 型槽钢;
5- 快速抗震连接构件;6- 抗震连接构件
 图1 抗震支吊架示意图
 
	
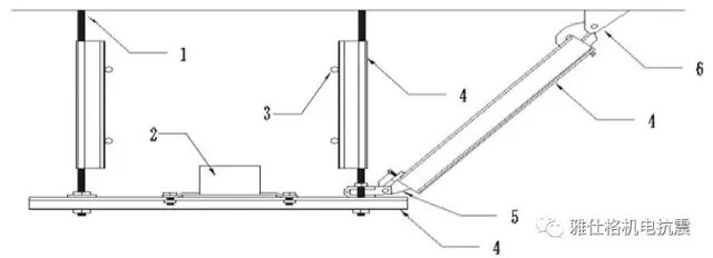
(2)侧向抗震支吊架:斜撑与管道截面平行的抗震支吊架。示意图如图2:
  
	
1- 斜撑;2- 抗震连接件;3- 锚固件;4- 螺杆锚固件;
5- 承重吊杆;6- 管道
 图2 侧向抗震支架示意图
 
(3)纵向抗震支吊架:斜撑与管道横截面垂直的抗震支吊架。示意图如图3:
  
1- 斜撑;2- 抗震连接构件;3- 锚固件;4- 螺杆紧固件;
5- 承重吊杆;6- 管道
 图3 纵向抗震支吊架示意图
 
	
(4)单管(杆)抗震支吊架:同一根承重吊架和抗震斜撑组成的抗震支吊架。示意图如图4:
  
	
11- 螺杆紧固件;2- 专用槽钢;3- 管道或设备
 图4 单管(杆)抗震支吊架示意图
 
	
 (5)门型抗震支吊架:由两根及以上承重吊架和横梁、抗震斜撑组成的抗震支吊架。示意图如图5:
 
 
	
1- 结构体;2- 长螺母;3- 长螺杆;4- 方垫片;5- 槽钢紧固件;
6- 膨胀螺栓;7- 抗震连接构件;8- 槽钢;9- 快速抗震连接构件
图5 门型侧向抗震支吊架示意图
 
 
	
2 应用范围
(1)大于DN65mm的所有管道;
(2)所有防排烟系统管道;
(3)所有直径大于0.70m的圆形风管;
(4)所有截面积大于0.38㎡的矩形风管;
(5)重量在15kg/m及以上的电线桥架;
(6)所有门形吊架。
 
 
	
3 应用示例及节点布置原则
(1)刚性连接金属管道长为24m,侧向抗震支吊架最大间距12m,先于两端加设侧向支撑,再依次按12m 设置侧向支撑(见图6)。
  
 
1-抗震支吊架
图6 水平直管段中部增设抗震支吊架示意图
(2)刚性连接金属管道长为36m,按最大24m 的间距依次设置纵向支撑,直至所有支撑间距均满足要求(见图7)。
  
 
1-抗震支吊架;2- 纵向抗震支吊架;
图7 水平直管段纵向抗震支吊架示意图
(3)刚性连接的水平管道,两个相邻的加固点允许纵向偏移,水管及电线套管不得大于最大侧向支吊架间距的1/16,风管、电缆梯架、电缆托盘和电缆槽盒不得大于其宽度的两倍(见图8)。
  
 
1-抗震支吊架
图8 刚性连接水平管道纵向示意图
(4)纵向抗震支吊架最大间距24m,侧向抗震支吊架最大间距12m,则双向抗震支吊架距下一纵向抗震支吊架间距为:(24+12) /2+0.6=18.60m。详见图9。
  
1-侧向抗震支吊架;2- 抗震支吊架;3- 纵向抗震支吊架
图9 水平直管段纵向抗震支吊架示意图
(5)当水平管线通过垂直管线与地面设备连接时,管线与设备之间应采用柔性连接,水平管线距垂直管线600mm范围内设置侧向支撑,垂直管线底部距地面大于0.15m 应设置抗震支撑(见图10)。
  
1-侧向抗震支吊架;2- 柔性连接;3- 地面设备;4- 抗震支吊架
图10 管线与设备连接时抗震支吊架设置示意图
 
 
	
4 施工要点
4.1 施工步骤
测量→下料→吊点栓胀安装→垂直向吊杆安装→横担(或管卡)安装→侧向、纵向加固件安装。
4.2 操作要点
(1)管道和电线套管允许纵向偏移,但不得超过最大侧向支撑间距的1/6;风管允许偏差,但不得超过风管风度的2倍。
(2)水平管道在90°转弯时,需设抗震支吊架;其他角度转弯长度大于抗震设计间距的1/16 时,需设侧向及纵向抗震支吊架。
(3)计算水平地震力荷载时,只需满负荷重量而不需要考虑其他因素。
(4)抗震吊架不限制管线热胀冷缩产生的应力,当把热胀冷缩因素考虑在内时,纵向吊架应在构件选型上考虑所选型号应能抵抗管线热胀冷缩应力。
(5)保温管线的抗震吊架管码需按保温后的尺寸考虑,门型吊架用于保温风管、水管亦按此考虑。
(6)用于刚性的管道抗震支撑不能安装于建筑的不同结构部位或功能部位,否则会因地震作用而产生不同的位移。
(7)单管抗震支撑双向侧向或纵向或具有侧/ 纵向作用的拐点抗震支撑,应直接与管线或电线套管连接。应注意支管或小一级管线的支撑不能作为主管的抗震支撑,即不能作为另一方向(主管)的支撑。
(8)管线穿越建筑沉降缝时,应考虑沉降位移设计。
(9)侧/ 纵向斜撑安装的最佳垂直角度为45°,可根据现场实际情况适当调整。
(10)对水、电、风系统的单管或多管共用门型吊架,无论侧向/ 纵向斜撑,斜撑偏离中心线2.5°时不会影响其承载力。
4.3抗震支吊架的施工依据
抗震支吊架在地震中可对给排水系统、空调系统、电气管线系统提供充分的保护,所以抗震支吊架在任何时候、任何安装角度都须大于地震力。水平方向的地为提高抗震支撑的使用效率,应于 90° 弯头处 0.6 m 以内设置抗震支撑,尽可能达到“双作用”的效果。 “双作用”支撑必须满足以下要求:(1 )承载力大于侧向与纵向荷载的总和;(2)“双作用”支撑应由直接与管线或线缆套管连接(双作用不适用于门形吊架);(3 )“双作用” 支撑的间距要求(图震负荷可由两个不同方向的抗震支撑承担,即侧向抗震支撑承担侧向负荷,纵向抗震支撑承担纵向负荷。所有抗震支撑须和结构体作可靠连接。与钢筋混凝土框架结构的梁柱板作刚性连接,与钢结构作柔性连接,且须经设计人员验算。
 
 
5 结语
通过工程实践,建筑抗震支吊架与同类重力支吊架的施工相比,由于节点数量较少,每个节点都经过力学计算与验算,工程施工易于布置、工程进度快、干扰因素少、有利于文明施工、各种资源能较好地利用,能确保机电设施完好无损。施工进程配合整体机电安装,未影响到工程总工期,产生了较好的经济效益,并将建筑机电管线的安装提升了一个新的层次,工程质量优良率达100%,无安全生产事故发生,得到了各方好评。